
傳統模式的個人辦公中主要存在的現象和問題是:
¤ 員工無法收到消息提醒,或是消息提醒不及時、不全面、不多樣,導致工作延誤、遺漏。
¤ 信息沒有專一渠道發布、共享,員工無統一位置查看企業動態,傳達不暢。
¤ 無法將企業規章制度固定化、規范化,流程化,無法實現上報便利、查看及時、審批快速,導致工作效率低下、工作業務延誤。
¤ 無法將常用的行政辦公模塊整合,實現集中并且專屬的功能區域。
¤ 功能復制化嚴重,無法滿足用戶的個性化設置和需求。
¤ 大量的文件和信息堆積,無法實現關鍵字的快速查找,浪費時間和精力。
¤ 無法掌握同事的在線狀態,沒有衍生共同工作的意識,溝通交流不暢,形成工作孤島。
¤ 無法針對用戶使用權限生成快捷列表,讓工作更加便捷簡單。
其實這些用華天動力協同OA系統,數字化辦公,就可以輕松解決以上問題,讓您輕松一夏。OA辦公系統是幫助企業提高辦公效率、規范管理制度、實現管理落地的辦公軟件。華天OA辦公系統則是以用戶的需求為核心,秉承“魔方架構,智慧協同”的理念,完美融合人員、目標、資源、過程的管理,為企業中的人事、行政、財務、采購、銷售、生產等部門提供了統一的協同辦公平臺。為了提高用戶的使用體驗和契合用戶的辦公習慣,也為了將繁瑣的工作簡單化、高效化,華天OA將日常辦公中常用的功能模塊整合成一個基礎的、便利的個人辦公區域,幫助用戶實現便捷工作、高效辦公。

一、集中展現,迅速抓住工作要點
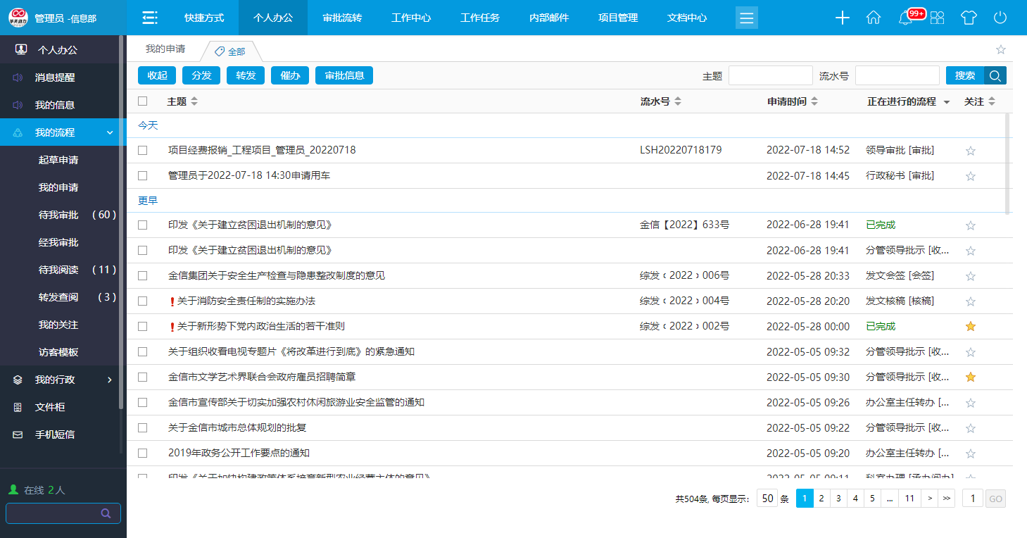
在日常工作中,需要我審批的有請假的、出差的、報銷的、公文需要會簽的、來文處理的、申領辦公用品的、……各種各樣,這些內容都分散在不同的模塊中,一處一處找太麻煩了,很容易哪個就沒看到漏掉了。如果能夠在一個畫面中將全部的待審的信息都能看到,那就不會有遺漏了。
華天動力協同OA系統個人辦公功能將OA系統中最基本、最常用的功能模塊都集中展現在一起,并且此模塊中的功能并不是獨立存在,而是與各大模塊互通互聯,實現數據傳遞和交換。我的流程模塊將審批流轉、公文發文、公文收文以及其他的審批流程集中展現在一起,用戶可以從此功能中實現起草、審批、閱讀、轉發、關注等操作,不必在逐一功能模塊中查找使用。讓我們在炎炎夏季中,迅速找到工作要點,從容進入工作

二、專屬區域,實現個性化的設置
夏日炎熱,每天在龐大的信息量中找到和自己有關的工作信息和事務,已經耗費了我們大量的時間和精力,再做具體的工作往往已經沒了精氣神。
通過OA系統個人辦公功能的使用,可以直接提取與自己相關的消息、信息、審批、行政等內容,例如我的行政里有會議信息、我的借支、我的考勤、個人薪資、我的用車、用車日歷、用品領用、待我考核、我已考核等, 為自己節約時間,減少耗費精力,提高工作效率。
同時系統還可以根據用戶需求和習慣的不同,創建專屬自己個性化的設置,如個人的基本信息、網址、通訊組、委托審批、委托代理、快捷意見等。文件柜里還可以設置自己平時要用到的專屬文檔,手機短信可以查看和發生信息給系統內部的人,高效快捷,實現個性化辦公。

三、操作體驗,新員工也能快速上手
如何能減輕員工壓力,如何能讓用戶輕松辦公,一直是華天OA追求的目標。華天OA的個人辦公模塊中沒有難懂的名詞,沒有專業的術語,讓新用戶無需培訓通過字面即可理解其中的使用含義,使功能易用,操作簡單;快捷列表、全文檢索等功能一直在最醒目的位置展現,目的是方便用戶無論如何切換畫面都可以快速找到,方便使用。
而且每位員工的門戶展示的都是自己日常工作需要用到的模塊,不會展示不相干的內容,這樣門戶干凈清晰,一目了然就能了解全部工作內容和重點,新員工也能輕松上手。

個人辦公是華天動力協同OA系統的重要組成部分,它將各大功能模塊整合成一個基礎的、常用的、便利的個人辦公區域,幫助用戶快速的了解工作內容,分清輕重緩急,處理各類流程,實現便捷工作、高效辦公。夏日炎炎,用華天動力OA系統數字辦公,讓您輕松一夏。
來源:砍柴網 http://news.ikanchai.com/2022/0720/489915.shtml
OA系統:http://m.haiguanoa.cn/